Email This Page

Section 63.1
SPN 655/FMI 14

This diagnosis is typically an open circuit, short to ground or short to power.‪

Section 63.1.1
Open Circuit, Short to Ground and Short to Power Check

Check as follows:‪

  1. Check for multiple codes.
    1. If fault code 168/1 is active in addition to any other fault codes, service 168/1 first. Refer to "32.2 SPN 168/FMI 1" .
    2. If fault codes 654/14 and 656/14 are active in addition to 655/14, go to step 2 .
    3. If only fault code 655/14 is active, go to step 9 .
  2. Turn the ignition OFF.
  3. Disconnect the Rear Injector Harness 12–pin connector.
  4. Inspect the Rear Injector Harness 12–pin connector for bent or spread pins, inspect the connector seal for damage (signs of water or oil intrusion).
    1. If the water or oil intrusion, bent or spread pins are found, repair as necessary. Refer to "63.1.1.1 Verify Repairs" .
    2. If connector shows no signs of damage, go to step 5 .
  5. Turn the ignition ON (ignition ON, engine OFF).
  6. Measure for voltage between pin 3 on the MCM side of the Rear Injector Harness 12–pin connector and ground.
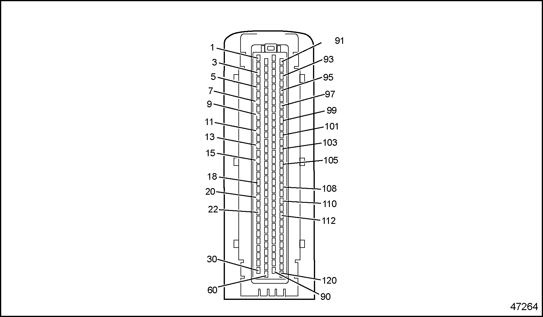
    1. If voltage is present, repair the short to power between pin 3 of the Rear Injector Harness 12–pin connector and pin 17 of the 120–pin MCM connector. See Figure "120–pin MCM Connector" . Refer to "63.1.1.1 Verify Repairs" .
    2. If no voltage is present, go to step 7 .
  7. Measure for voltage between pin 5 on the MCM side of the Rear Injector Harness 12–pin connector and ground.
    1. If voltage is present, repair the short to power between pin 5 of the Rear Injector Harness 12–pin connector and pin 19 of the 120–pin MCM connector. See Figure "120–pin MCM Connector" . Refer to "63.1.1.1 Verify Repairs" .
    2. If no voltage is present, go to step 8 .
  8. Measure for voltage between pin 9 on the MCM side of the Rear Injector Harness 12–pin connector and ground.
    1. If voltage is present, repair the short to power between pin 9 of the Rear Injector Harness 12–pin connector and pin 21 of the 120–pin MCM connector. See Figure "120–pin MCM Connector" . Refer to "63.1.1.1 Verify Repairs" .
    2. If no voltage is present, contact the Detroit Diesel Customer Support Center at 313–592–5800 for MCM replacement authorization.
    3. Click to see this graphic in a separate window

      Figure 1. 120–pin MCM Connector

  9. Turn the ignition OFF.
  10. Disconnect the Rear Injector Harness 12–pin connector.
  11. Measure the resistance between pin 5 and pin 6 on the valve cover side of the Rear Injector Harness 12–pin connector. If using J-48671–10 , measure between injector #5 pins 1 and 2.
    1. If the resistance is greater than 3 Ω, go to step 13 .
    2. If the resistance is less than 3 Ω, go to step 12 .
  12. Measure the resistance between pin 5 and ground on the valve cover side of the Rear Injector Harness 12–pin connector. If using J-48671–10 , measure between injector #5 pins 1 and ground.
    1. If the resistance is greater than 3 Ω, repair the open between pin 5 of the Rear Injector Harness 12–pin connector on the valve cover side and pin 19 of the 120–pin MCM connector. Refer to "63.1.1.1 Verify Repairs" .
    2. If the resistance is less than 3 Ω, go to step 13 .
  13. Remove the upper valve cover.
  14. Disconnect injector #5.
  15. Measure the resistance between pin 5 (injector #5 pin 1 if using J-48671–10 ) on the valve cover side of the injector harness and pin 1 of the injector #5 harness connector.
    1. If the resistance is greater than 3 Ω, replace the under valve cover injector harness. Refer to "63.1.1.1 Verify Repairs" .
    2. If the resistance is less than 3 Ω, go to step 16 .
  16. Measure the resistance between pin 6 (injector #5 pin 2 if using J-48671–10 ) on the valve cover side of the injector harness and pin 2 of the injector #5 harness connector.
    1. If the resistance is greater than 3 Ω, replace the under valve cover injector harness. Refer to "63.1.1.1 Verify Repairs" .
    2. If the resistance is less than 3 Ω, replace injector #5. Refer to "63.1.1.1 Verify Repairs" .
Section 63.1.1.1
Verify Repairs

Verify repairs as follows:‪

  1. Turn ignition OFF.
  2. Reconnect any electrical connections that were disconnected to perform the diagnosis.
  3. Clear codes with DDDL 7.0 or latest version.
  4. Start and bring engine up to operating temperature (over 140°F/60°C).
  5. Verify operation is satisfactory and no warning lamps illuminate. If warning lamps illuminate, troubleshoot the codes. If assistance is required, call the Detroit Diesel Customer Support Center at 313–592–5800.


EPA07 Series 60 DDEC VI Troubleshooting Guide - 6SE567
Generated on 10-13-2008